修复系统漏洞保护电脑公司Win7系统安全
发布时间:2015-08-22 作者:win7旗舰版系统下载
电脑使用过程中,黑客会利用网络植入木马、病毒等方式来攻击或控制整个电脑,如果电脑没有及时地进行修复,就会对电脑造成很大的威胁。下面小编给大家分享修复系统漏洞保护电脑公司Win7系统安全。
1、点击“开始——控制面板——系统和安全”。
2、点击打开进入到Windows 防火墙页面,帮助我们提高电脑安全系数。
3、在Windows 防火墙页面中进行防护;
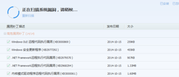
4、如果需要修复系统漏洞,点击进入到电脑中的腾讯电脑管家的功能页面,进入工具箱,点击修复。
5、进入到系统漏洞的检测和修复功能页面后,可帮助用户完成系统漏洞的修复。
以上就是关于修复系统漏洞保护电脑公司Win7系统安全介绍了,为了系统电脑的安全,请参照以上方法进行漏洞的修复吧。
1、点击“开始——控制面板——系统和安全”。
2、点击打开进入到Windows 防火墙页面,帮助我们提高电脑安全系数。
3、在Windows 防火墙页面中进行防护;
4、如果需要修复系统漏洞,点击进入到电脑中的腾讯电脑管家的功能页面,进入工具箱,点击修复。
5、进入到系统漏洞的检测和修复功能页面后,可帮助用户完成系统漏洞的修复。
以上就是关于修复系统漏洞保护电脑公司Win7系统安全介绍了,为了系统电脑的安全,请参照以上方法进行漏洞的修复吧。
- 电脑公司Win7旗舰版
- 电脑公司win7 64位ghost下载旗舰版v2017.11
- 电脑公司win7旗舰版64位经典珍藏版 V2017.01
- 电脑公司GHOST WIN7 SP1 X86装机版V2015.09_电脑公司WIN7最新装机版
- 电脑公司GHOST WIN7 SP1 32位旗舰版V2016.07_GHOST WIN7系统
- 电脑公司Ghost Win7 SP1 x64旗舰装机版2015.05_电脑公司64位下载
- 电脑公司Win7纯净版
- 电脑公司win7 64位系统纯净版下载v2017.11
- 电脑公司win7 32位纯净版系统下载 v2017.11
- 电脑公司Ghost Win7 Sp1 64位 纯净版v2015.04
- 电脑公司Ghost Win7 SP1 x86旗舰纯净版(32位) 2014.10 系统下载
- 电脑公司 GHOST Win7 64位 纯净旗舰版 v20150423
------分隔线------
- 相关推荐
- 小编推荐
- 电脑公司系统下载
温馨提示:这里是下载地址,点击即可高速下载!
- Win7旗舰版
Win7 32位旗舰版
Win7 64位旗舰版
系统之家Win7旗舰版
雨林木风win7旗舰版
电脑公司Win7旗舰版
深度技术WIN7旗舰版
新萝卜家园WIN7旗舰版
技术员联盟win7旗舰版
番茄花园Win7旗舰版
大地WIN7旗舰版
中关村WIN7旗舰版
笔记本win7旗舰版
其他WIN7旗舰版
- Win7纯净版
Win7 32位纯净版
Win7 64位纯净版
系统之家WIN7纯净版
雨林木风win7纯净版
电脑公司Win7纯净版
深度技术win7纯净版
新萝卜家园WIN7纯净版
番茄花园WIN7纯净版
技术员联盟win7纯净版
中关村WIN7纯净版
大地WIN7纯净版
笔记本win7纯净版
其他Win7纯净版
- Win7系统排行
深度技术 Ghost Win7 SP1 X86旗舰专业版(32位)2014.05 系统下载深度技术 Ghost Win7 SP1 X86旗舰专业版(32位)2014.05 系统下载
中关村Ghost win7 旗舰版2014V3 最新 win7 32位系统下载中关村Ghost win7 旗舰版2014V3 最新 win7 32位系统下载
雨林木风 GHOST WIN7 SP1 X64旗舰装机版(64位)2014.05 系统下载雨林木风 GHOST WIN7 SP1 X64旗舰装机版(64位)2014.05 系统下载
雨林木风 GHOST WIN7 SP1 X86旗舰装机版(32位)2014.05 系统下载雨林木风 GHOST WIN7 SP1 X86旗舰装机版(32位)2014.05 系统下载
番茄花园GhostWIN7 SP1 X86装机版2014.04 最新32位旗舰版下载番茄花园GhostWIN7 SP1 X86装机版2014.04 最新32位旗舰版下载
新萝卜家园 GhostWin7_SP1 X86极速旗舰版(32位)v2014.05 系统下载新萝卜家园 GhostWin7_SP1 X86极速旗舰版(32位)v2014.05 系统下载
电脑公司 GhostWin7_SP1 X64旗舰特别版(64位)v2014.05 系统下载电脑公司 GhostWin7_SP1 X64旗舰特别版(64位)v2014.05 系统下载
技术员联盟 GhostWin7 Sp1 X64装机旗舰版(64位)2014.05 系统下载技术员联盟 GhostWin7 Sp1 X64装机旗舰版(64位)2014.05 系统下载
- U盘装系统工具
- 重装系统工具
- 软件下载
